一、功能说明
1、用户在创建TikTok广告之后,可设置分时策略,根据目标用户活跃的时间段推送广告,避开低效时段,将广告预算集中在高转化潜力的时间段,从而最大化的提升推广内容的曝光率、互动率和转化效果,提升ROI
2、目前支持在妙手ERP中创建TikTok广告,并且创建分时策略,但需要注意,在分时策略生效期间,请不要在TikTok后台编辑相关广告的开启状态、日预算,避免最终出价偏离预期
3、目前TikTok分时策略仅适用于活动类型为【产品推广活动】的广告
4、创建分时策略之前,需要先创建TikTok广告,如需查看TikTok广告授权、TikTok广告创建流程,可跳转下方链接查看:
二、操作流程
1、进入妙手ERP=>广告=>分时策略,点击【创建分时策略】


2、创建分时策略
(1)基本信息
①规则名称:自定义创建
②生效时间:自定义设置,注意是按照北京时间,当自动策略结束时,关联广告将维持最后一刻的出价,请关注结束时间
③基准出价:
基准出价将作为您后续提升、降低预算的出价基准(而非您广告中最初的出价)。
在广告生效过程中,请您不要在TikTok后台调整广告出价,因为这将和自动出价规则产生冲突。
举例:基准出价为10₽。

(2)指定每周规则
①设置好基本信息的生效时间之后,继续设置每周规则,支持设置规则和手动设置两种方式

创建规则:可点击创建规则,在弹窗中设置,由系统自动划分生效时间

手动设置:在选择生效时间之后,弹窗中的时间表就可以进行操作了,用鼠标拖动需要生效的区域,在进行设置即可

(3)指定日期规则
①在指定的日期(例如节日或大促活动),可独立设置预算提升规则,执行优先级会高于每周规则。

(4)未设置时间段规则:没有设置出价规则的时间段将统一按照设置规则执行广告策略,可选择开启和关闭广告
(5)分时策略结束时规则:自动策略结束时,将统一按照如下规则执行广告策略,可选择开启和关闭广告

(6)所有信息设置好之后,点击【保存并添加广告】即可进入到关联广告弹窗中,选择需要关联分时策略的广告后,点击【确定】

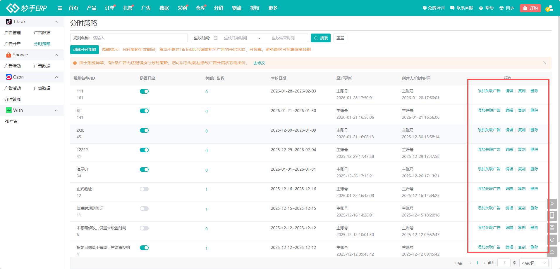
3、创建完成后,可在界面中查看目前已创建的所有分时策略,并支持开启和关闭策略、添加关联广告、二次编辑、复制和删除等操作


